木屑顆粒機工作原理是什么

木屑顆粒機又叫鋸末顆粒機,是普通顆粒機的升級版,將各種果木、樹木及農作物秸稈等粉碎成鋸末狀,加工成生物質顆粒燃料的專業設備。木屑顆粒機有效解決了傳統顆粒機對粗纖維難制粒的情況,大大延長了設備的使用壽命,并提高了產量節約了噸耗,是顆粒機中的佼佼者。下面我們來分析一下木屑顆粒機工作原理是什么。
想要了解木屑顆粒機的工作原理,就應該先了解該設備的構造。

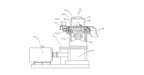
1、機架 11、進料口 12、制粒室 13、旋轉軸主軸室 14、減速機 21、主軸 23、支撐塊 24、支撐板 7、撥料盤 71、刀具 72、驅動裝置 73、落料口 15、電機
木屑顆粒機工作原理:
木屑顆粒機的電機直接連接,然后裝置牙齒式調心聯軸器與減速機連接,經過90度同心變向、電機轉動到立式傳動軸、該傳動軸帶動壓輥對禁錮的環形磨具實施表面碾壓完成成型過程。
主機工作運轉、由上料機把物料送入圖示(11)垂直進料口落入壓輥平臺、通過該平臺勻速旋轉均勻的分布在成型料倉表面,壓輥旋轉與緊固環形磨具形成角度碾壓摩擦,把物料碾入成型孔口,高壓續行漸進。再通過摩擦溫度的復雜變化(物理、化學)就形成一定密度的實心體圓柱狀長型顆粒,通過環形磨具周圍的切刀切斷成一定規格的長條顆粒,然后由旋轉的撥料齒盤撥送到到出料口,顆粒就源源不斷的落到接料臺(有輸送機接送完成),完成整個顆粒成型過程。
我公司生產的木屑顆粒機所有結構部件的接觸面全部是精密機床嚴密加工而成、組裝科學精度極高、穩定性更好。
木屑顆粒機的工作原理簡單描述如上,機械的工作原理是復雜的,簡單的文字描述是不詳細的,想要了解更多,歡迎到我廠實地參觀考察。